

一、森林火險監測站產品簡介
森林火險監測站又稱森林氣象站,火險預警氣象站,森林火險監測站通過監測各種氣象數控,預測火災可能發生的時間和地點,在保護森林資源和減少火災危害方面起著重要作用。
森林火災是森林生態系統的大敵,它能在很短時間內,燒毀大面積的森林和大量的林副產品,破壞林分結構和森林環境,破壞自然界生態平衡,造成氣候失調,水土流失,河流淤塞,洪水泛濫或水源枯竭。通過監測容易發生森林火災區域的風速風向、空氣的溫度、相對濕度、太陽輻射等氣象因子,可以對預防森林大火的發生,在發生大火時也可以指導工作人員進行快速合理的滅火工作,使財產損失降到低點。
該設備由氣象傳感器,采集器,太陽能供電系統,立桿支架,云平臺五部分組成。免調試,可快速布置,廣泛運用于氣象、農業、林業、環保、海洋、機場、港口、科學考察、校園教育等領域。
二、產品特點
1、低功耗采集器:靜態功耗小于50uA
2、標配GPRS聯網、支持擴展藍牙、有線傳輸
3、7寸安卓觸屏,版本:4.4.2、四核Cortex?-A7,512M/4G
4、支持modbus485傳感器擴展
5、太陽能充電管理MPPT自動功率點跟蹤
6、三米碳鋼支架,兩節法蘭盤對接
7、配備聲光報警器
8、人員靠近設備可聲光喊話報警,可短信/電話云通知
9、ABS材質防護箱,耐腐蝕、抗氧化,防水等級IP66
三、技術參數
名 稱 | 測量范圍 | 分 辨 率 | 準 確 度 |
環境溫度 | -50~+100℃ | 0.1℃ | ±0.5℃ |
相對濕度 | 0~100%RH | 0.1% | ±3% RH |
風 向 | 0~360°(16方向) | 1° | ±5° |
風 速 | 0~60m/s | 0.1m/s | ±(0.3+0.03V)m/s |
雨 量 | ≦4mm/min | 0.2mm | ±0.4mm |
光照強度 | 0-200000Lux | 1Lux | ±2% |
大氣壓力 | 10~1100hPa | 0.1hPa | ±0.3hPa |
土壤溫度 | -50~+80℃ | 0.1℃ | ±0.5℃ |
土壤濕度 | 0~100% | 0.1% | ±3%RH |
二氧化碳 | 0-5000PPM | 1PPM | ±40PPM±讀數的3% |
可以根據用戶需求拓展配置:日照時數、蒸發量傳感器、露點溫度傳感器、紫外線輻射傳感器、光合輻射傳感器等各種氣象要素傳感器。 | |||
供電系統 | 市電/太陽能/多電源供電系統可選 | ||
通訊系統 | RS485、USB、無線GPRS、以太網等通訊方式 | ||
專用支架 | 安裝防護箱、傳感器、供電電源、通訊設備等 | ||
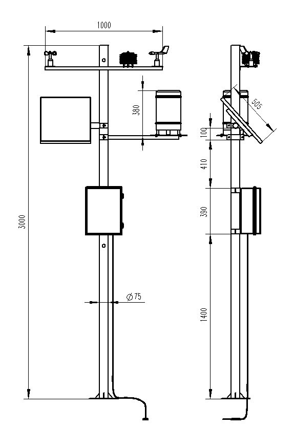
四、產品尺寸圖
五、產品結構圖
六、上位機軟件介紹
1、PC單機版數據接收、存儲、查看、分析軟件
2、支持串口數據接收、處理、展示
3、支持json字符串、modbus485等通信方式
4、可自設置存儲時間,modbus485采集模式下可自設置采集時間
5、支持自助增加、刪除、修改監測參數的協議、名稱、圖標等
6、支持數據后處理功能
7、支持外置運行javascript腳本
七、安卓APP介紹
1、安卓單機版數據接收、存儲、查看、分析軟件
2、支持藍牙數據接收
3、手機休眠后軟件后臺接收、處理
4、json數據自動添加設備,modbus設備支持掃碼添加設備
5、支持歷史數據查看、分析、導出表格,支持曲線展示、單數據點查看。
6、支持數據后處理功能
7、支持外置運行javascript腳本
八、云平臺介紹
1、CS架構軟件平臺,支持手機、PC瀏覽器直接觀測、無需額外安裝軟件。
2、支持多帳號、多設備登錄
3、支持實時數據展示與歷史數據展示儀表板
4、云服務器、云數據存儲,穩定可靠,易于擴展,負載均衡。
5、支持短信報警及閾值設置
6、支持地圖顯示、查看設備信息。
7、支持數據曲線分析
8、支持數據導出表格形式
9、支持數據轉發,HJ-212協議,TCP轉發,http協議等。
10、支持數據后處理功能
11、支持外置運行javascript腳本
?WX-SW3水文流量站通過現代傳感技術感知水流的每一次脈動,成為守護高原江河安全的重要基礎設施,它采用多參···
?隨著夏季腳步的臨近,雨水增多,汛期也要隨之到來,這對于水利工程、灌溉工程等都是一個極大的考驗,需要提···
?WX-SW2水文監測系統是可以實時監測渠道內水位、降雨量的監測設備,在之前的監測方法中面對突如其來的洪水、···
?WX-Q3農業四情監測系統是一款針對農田中“土壤、蟲情、氣象、苗情、孢子”這幾大關鍵要素進行實時監測與預警···
?WX-EL1便攜式EL檢測儀的革命性在于它將實驗室級檢測能力裝進了工具箱,傳統EL檢測需要拆卸組件送檢,而這款···
?有了WX-NQ12高標準農田氣象監測系統的助力,農民朋友們可以更加精準地掌握農田的氣象狀況。在播種、施肥、灌···
?儲油罐雷電監測預警系統通過先進的傳感器技術和數據分析算法,能夠實時監測儲油罐周圍的雷電活動情況。一旦···
?WX-XQ3中學學校氣象觀測站,作為學校科學教育的重要組成部分,為學生們提供了一個直觀感受自然界變化的窗口···
?WX-NY6農業物聯網氣象監測系統依托于先進的云計算和大數據技術,能夠實時收集并分析海量的氣象數據。從空氣···
?WX-SQ12袖珍手持氣象儀是一款輕便可穿戴的氣象監測設備,在戶外可以記錄的參數包括溫度、濕度、大氣壓、風速···
魯公網安備37079402370807 備案號:魯ICP備2022000322號-4 百度地圖txt地圖